0755-8666 2592
深圳国威电子有限公司
深圳市罗湖区莲塘罗沙路3038号国威大厦
gw@gwtx.com.cn
话务台可以使用鼠标操作,具备:呼叫、盲转、强插、强拆、强替、咨询转、业务受理、统计查询等业务功能,可以显示话务员工号、坐席号码、工作状态(工作中、休息中),具备通话信息窗口,可以及时显示各坐席的通话状态。
坐席分机具备:离线、振铃中、通话中、空闲等状态显示。
可以通过号码、名称、地址等索引,进行快速的查询及编辑,具体配置设置详解如下:
1:创建话务员权限
需要有登陆话务台权限的坐席分机,才能登陆话务台,分机坐席权限设置,在国威HB1981电话交换机web配置页面,点击分机-业务配置-话务员-如下图:

2:创建话务台接入码
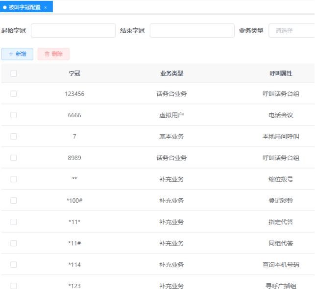
选择“中继管理 > 被叫字冠配置”。
单击“新增”。
进入“添加被叫字冠”界面配置话务台接入码,如下图所示。


在分机坐席获取话务员权限后,采用分机号、业务密码登陆话务台。
3:新增话务台组


4:加入话务台组的分机才可以登录话务台

5:登录话务台

进入话务台界面如下如:
我的会议-自助服务-话务台三个功能界面,点击话务台,进入话务台系统如下:


可以通过号码、名称、地址等索引,进行快速的查询及编辑。

